Теплоаккумулятор Sunsystem PR2 1000 (с двумя теплообменниками)
Организовать универсальную систему теплоснабжения поможет высококачественный теплоаккумулятор Sunsystem PR2 1000. За счет эффективной теплоизоляции толщиной 100мм, эта буферная емкость бережно сохраняет тепло, накопленное из различных источников - твердотопливного или пеллетного котла, солнечного коллектора, теплового насоса.
Аккумулирующий бак Sunsystem PR 1000 – прибор, позволяющий организовать систему отопления наиболее рационально и безопасно. Выступая в качестве накопителя энергии, этот теплоаккумулятор позволяет твердотопливному или пеллетному котлу работать в самом эффективном режиме – на номинальной мощности, при которой достигается самый высокий КПД.
- Емкость (л) : 1000
- Высота (мм): 2090
- Диаметр (мм): 990
В случае аварийной остановки циркуляционных насосов, буферная емкость принимает излишки тепла, предотвращая возникновение аварийных ситуаций, которые могут серьезно вывести из строя котельное оборудование. Аккумулирующий бак Sunsystem PR 1000 с теплообменником также позволяет параллельно задействовать дополнительный источник тепла, например, солнечный коллектор или тепловой насос, а возможность подключения ТЭНа мощностью до 7.5 киловатт делает его автономным, в случае необходимости.
Преимущества теплоаккумуляторов Sunsystem PR:
- Съемная высококачественная теплоизоляция толщиной 100мм и наружным ПВХ покрытием. Устойчива к механическим повреждениям. Цвет RAL 9006 (светло алюминиевый).
- Бак емкости изготовлен из низкоуглеродистой стали.
- Гидравлические испытания бака давлением 15 bar.
- Теплообменник изготовлен из того же материала, что и емкость, что исключает гальваническую реакцию. Теплообменник проходит испытание гидравлическим методом при давлении 25 bar.
- Многопозиционная установка датчика температуры. Возможна установка механического или электронного датчика для управления насосами по температуре воды в баке.
- Грунтовое покрытие внешней стороны бака.
- Все резьбовые соединения являются внутренними.
- Связки вход/выход расположены под углом в 180 градусов.
- Удобство и простота монтажа.
- Возможность дополнительно установить ТЭН с номинальной мощностью 3kW, 4.5kw, 6kW и 7.5kW.
ЭНЕРГОЭФФЕКТИВНОСТЬ
- Директива 2010/30/EU, регламент 812/2013:
- Класс E для объема от 300 до 500 литров;
- Класс Е для объема от 800 до 1000 литров.

- Эстетическое ПВХ покрытие, цвет RAL 9006
- Грунтовое покрытие наружной поверхности
- Съемная изоляция
- Бак для воды из низкоуглеродистой стали
- Нижний теплообменник S1

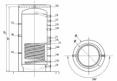
| Вместимость | L | 1000 |
| Диаметр без изоляции ø с изоляцией øi | mm | 790 990 |
| Высота без изоляции h с изоляцией hi | mm | 2040 2090 |
| Мин. высота пролета | mm | 2075 |
| Нижний теплообменник S1 Площадь теплообменника Вместимость | m2 L | 3.0 18.5 |
| Рабочее давление / макс.темп. теплообменника | bar/°C | 16/110 |
| Рабочее давление / макс.темп. буферной емкости | bar/°C | 3 / 95 |
| Рекомендуемые размеры котла, связанного с буферной емкостью | kW | 18-33 |
| Вес буферной емкости / Изоляция | Kg | 180/18 |
| Гильза для датчика | A, mm G½" | 580 |
| Эл. нагреватель | B, mm G1½" | 1130 |
| Гильза для датчика | C, mm G½" | 1500 |
| Гильза вентиляционного отверстия | D, mm G1½" | 2040 |
| Вход теплоносителя котла | E, mm G1½" | 1742 |
| Вход теплоносителя | F, mm G1½" | 1520 |
| Гильза для датчика | G, mm G½" | 1450 |
| Теплоноситель котла | H, mm G1½" | – |
| Теплоноситель котла | I, mm G1″ | |
| Теплоноситель котла | J, mm G1½" | 1060 |
| Дополнительная гильза | K,mm | – |
| Вход нижнего теплообменника S1 | L, mm G1″ | 880 |
| Теплоноситель котла | M, mm G1½" | 730 |
| Гильза для датчика | N, mm G½" | 495 |
| Выход нижнего теплообменника S1 | O, mm G1″ | 310 |
| Выход теплоносителя котла | P, mm G1½" | 170 |
Обращаем ваше внимание, что наличие товаров на сайте указано справочно и может отличаться.
Пожалуйста, уточняйте актуальную информацию у наших менеджеров — они всегда готовы помочь вам с выбором и подтвердить наличие нужной модели на складе.
Производитель
Sunsystem
Страна производитель
Болгария
Высота
2090 мм
Объём
1000 л
Диаметр
990 мм



