Теплоаккумулятор Sunsystem P 1000
Работать Вашему твердотопливному или пеллетному котлу с максимальным КПД поможет буферная емкость Sunsystem P 1000. Накапливая излишки тепловой энергии, аккумулирующий бак продолжает отдавать тепло в контур отопления, когда работа котла приостановлена. Это позволяет поддерживать комфортную температуру в отапливаемых помещениях, сократив количество и частоту закладок топлива.
- Емкость (л): 1000
- Высота (мм): 2090
- Диаметр (мм): 990
Теплоаккумулятор Sunsystem P 1000 поставляется с высокоэффективной теплоизоляцией 100мм, которая минимизирует теплопотери.
Преимущества теплоаккумуляторов Sunsystem P:
- Съемная высококачественная теплоизоляция толщиной 100мм и наружным ПВХ покрытием. Устойчива к механическим повреждениям. Цвет RAL 9006 (светло алюминиевый).
- Бак емкости изготовлен из низкоуглеродистой стали.
- Гидравлические испытания бака давлением 15 bar.
- Многопозиционная установка датчика температуры. Возможна установка механического или электронного датчика для управления насосами по температуре воды в баке.
- Грунтовое покрытие внешней стороны бака.
- Связки вход/выход расположены под углом в 180 градусов.
- Удобство и простота монтажа.
- Возможность дополнительно установить ТЭН с номинальной мощностью 3kW, 4.5kw, 6kW и 7.5kW.
ЭНЕРГОЭФФЕКТИВНОСТЬ
- Директива 2010/30/EU, регламент 812/2013:
- Класс E для объема от 300 до 500 литров;
Класс Е для объема от 800 до 1000 литров.

- Эстетическое ПВХ покрытие, цвет RAL 9006
- Грунтовое покрытие наружной поверхности
- Съемная изоляция
- Бак для воды из низкоуглеродистой стали

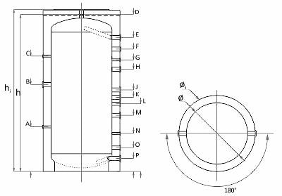
| Вместимость | L | 1000 |
| Диаметр без изоляцией ø с изоляцией øi | mm | 790 990 |
| Высота без изоляцией h с изоляцией hi | mm | 2040 2090 |
| Мин. высота пролета | mm | 2075 |
| Рабочее давлени / макс.темп. буферной емкости | bar/°C | 3 / 95 |
| Рекомендуемые размеры котла, связанного с буферной емкостью | kW | 18-33 |
| Вес буферной емкости / Изоляция | Kg | 133 / 18 |
| Гильза для датчика | A, mm G½" | 580 |
| Эл. нагреватель | B, mm G1½" | 1130 |
| Гильза для датчика | C, mm G½" | 1500 |
| Гильза вентиляционного отверстия | D, mm G1½" | 2040 |
| Вход теплоносителя котла | E, mm G1½" | 1742 |
| Вход теплоносителя | F, mm G1½" | 1520 |
| Гильза для датчика | G, mm G½" | 1450 |
| Теплоноситель котла | H, mm G1½" | – |
| Теплоноситель котла | I, mm G1″ | |
| Теплоноситель котла | J, mm G1½" | 1060 |
| Дополнительная гильза | K,mm | – |
| Вход теплоносителя | L, mm G1″ | 880 |
| Теплоноситель котла | M, mm G1½" | 730 |
| Гильза для датчика | N, mm G½" | 495 |
| Вход теплоносителя | O, mm G1″ | 310 |
| Вход теплоносителя котла | P, mm G1½" | 170 |
Техническая документация:
Обращаем ваше внимание, что наличие товаров на сайте указано справочно и может отличаться.
Пожалуйста, уточняйте актуальную информацию у наших менеджеров — они всегда готовы помочь вам с выбором и подтвердить наличие нужной модели на складе.
Производитель
Sunsystem
Страна производитель
Болгария
Высота
2090 мм
Объём
1000 л
Диаметр
990 мм



